融合经验网
首页
美食营养
游戏数码
知识问答
生活知识
返回
融合经验网
首页
美食营养
游戏数码
手工爱好
生活知识
健康养生
运动户外
职场理财
情感交际
母婴教育
时尚美容
知识问答
搜索
DK240S DK340S 送风定温乾燥器说明书:[1]
2026-02-15 19:24:17
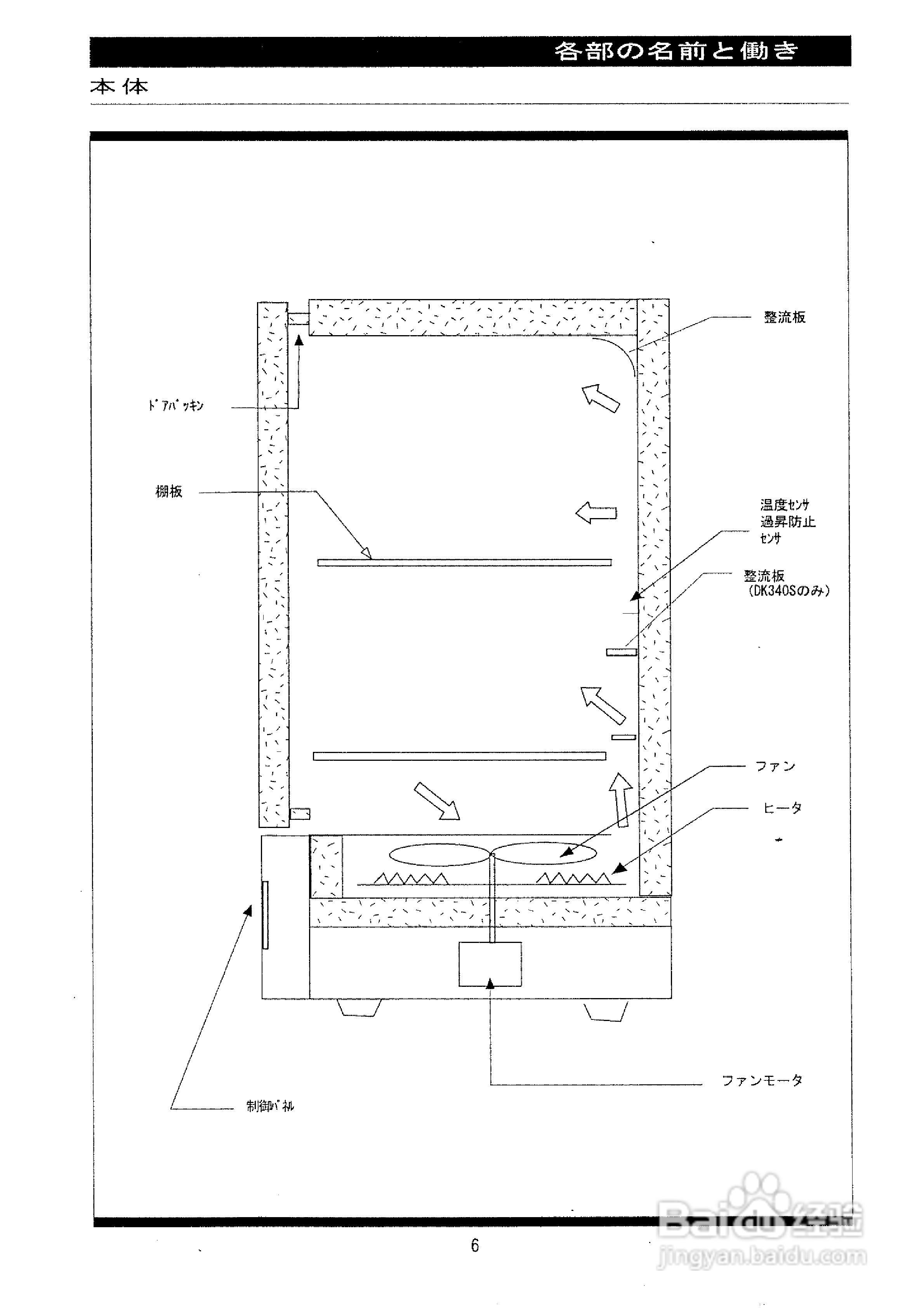
本篇为《DK240S DK340S 送风定温乾燥器说明书》,主要介绍该产品的使用方法以及常见故障解决方案。
(共篇)
下一篇:
相关推荐
DK240S DK340S 送风定温乾燥器说明书:[3]
阅读量:152
M0015乾燥机控制器操作说明书
阅读量:27
HITACHI DE-N5S6型除湿形乾燥机使用说明书:[3]
阅读量:42
TUV WS302-1系列温湿度变送器使用说明书
阅读量:107
HITACHI DE-N5S6型除湿形乾燥机使用说明书:[4]
阅读量:126
猜你喜欢
杯水车薪什么意思
过户是什么意思
我国什么时候开始用砖瓦
电子信箱是什么
大力是什么
530是什么意思
维生素b6治疗脱发
dancer是什么意思
知柏地黄丸主治什么
什么牌子的蓝牙耳机好
猜你喜欢
微波炉什么牌子好
迫不及待的意思是什么
shower gel是什么意思
蜂蜜水什么时候喝
雅正是什么意思
绝处逢生是什么意思
anyway什么意思
18k是什么意思
8426468什么意思
丁克族是什么意思