融合经验网
首页
美食营养
游戏数码
手工爱好
生活家居
返回
融合经验网
首页
美食营养
游戏数码
手工爱好
生活家居
健康养生
运动户外
职场理财
情感交际
母婴教育
时尚美容
搜索
养鸡需要办理什么手续
2024-11-23 00:55:41
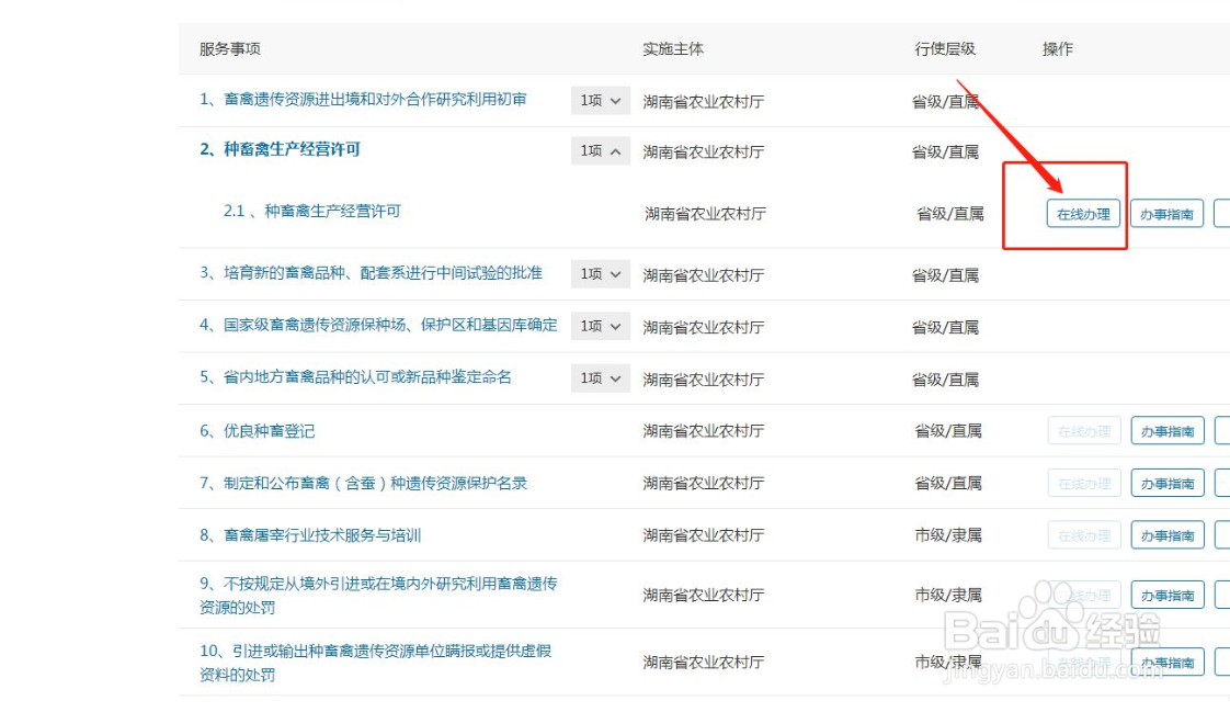
1、进入政务官网,点击法人服务
2、进入法人服务,点击主题办
3、进入界面,点击种畜禽生产经营许可
4、进入界面,点击在线办理即可
相关推荐
小橘子树爱怎么剪枝?
抖音App怎么查看果园在哪
高丹草种植方法
如何关闭货拉拉APP营销消息推送?
趣味象棋之长江天堑
猜你喜欢
个人所得税app怎么退税
烤肉怎么腌制
立方米怎么算
约克中央空调怎么样
cpu占用过高怎么办
鲜香菇怎么做好吃
三叉戟怎么读
怎么注册公司
福斯机油怎么样
比熊犬怎么训练
猜你喜欢
winter怎么读
怎么选西瓜
寿司怎么做
甘油三酯高怎么办
彦怎么读
奶昔怎么做
b站视频怎么下载
病毒性疱疹怎么治疗
电脑怎么格式化
余额宝的钱怎么转到银行卡