融合经验网
首页
美食营养
游戏数码
知识问答
生活知识
返回
融合经验网
首页
美食营养
游戏数码
手工爱好
生活知识
健康养生
运动户外
职场理财
情感交际
母婴教育
时尚美容
知识问答
搜索
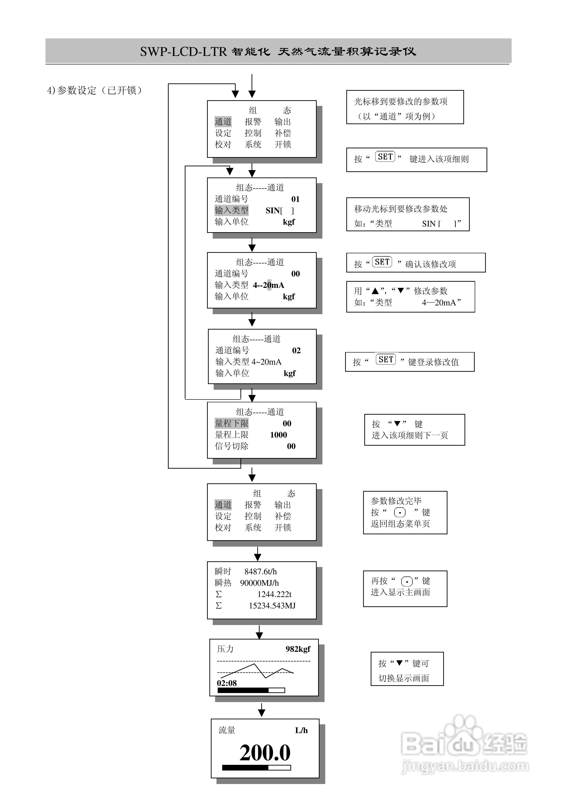
昌晖SWP-LCD-LTR智能防盗天然气流量积算控制仪说明书:[1]
2026-02-17 09:32:08
本篇为《昌晖SWP-LCD-LTR智能防盗天然气流量积算控制仪说明书》,主要介绍该产品的使用方法以及常见故障解决方案。
(共篇)
下一篇:
相关推荐
昌晖SWP-LCD-LTR智能防盗天然气流量积算控制仪说明书:[3]
阅读量:194
昌晖SWP-LCD-NLR智能化防盗型流量/热能积算仪说明书:[1]
阅读量:82
昌晖SWP-LCD-NLR智能化防盗型流量/热能积算仪说明书:[3]
阅读量:83
昌晖SWP-LCD-NLR智能化防盗型流量/热能积算仪说明书:[6]
阅读量:106
昌晖SWP-LCD-NLR智能化防盗型流量/热能积算仪说明书:[4]
阅读量:78
猜你喜欢
卡黄是什么意思
家庭用车买什么车好
觥筹交错什么意思
三月三是仙家什么节日
加热水龙头什么牌子好
骑兵是什么意思
下吧老冒痘痘什么原因
引咎辞职什么意思
井底之蛙是什么意思
服务器是干什么的
猜你喜欢
puzzle是什么意思
dnf什么粉卡最便宜
收敛是什么意思
遥控汽车什么牌子好
祝福祖国繁荣昌盛的话
办暂住证需要什么资料
垂头丧气意思
觥筹交错的意思
白苹果是什么意思
什么是痛风的症状