融合经验网
首页
美食营养
生活百科
知识问答
生活知识
返回
融合经验网
首页
美食营养
游戏数码
手工爱好
生活知识
生活百科
健康养生
运动户外
职场理财
情感交际
母婴教育
时尚美容
知识问答
更多知识
搜索
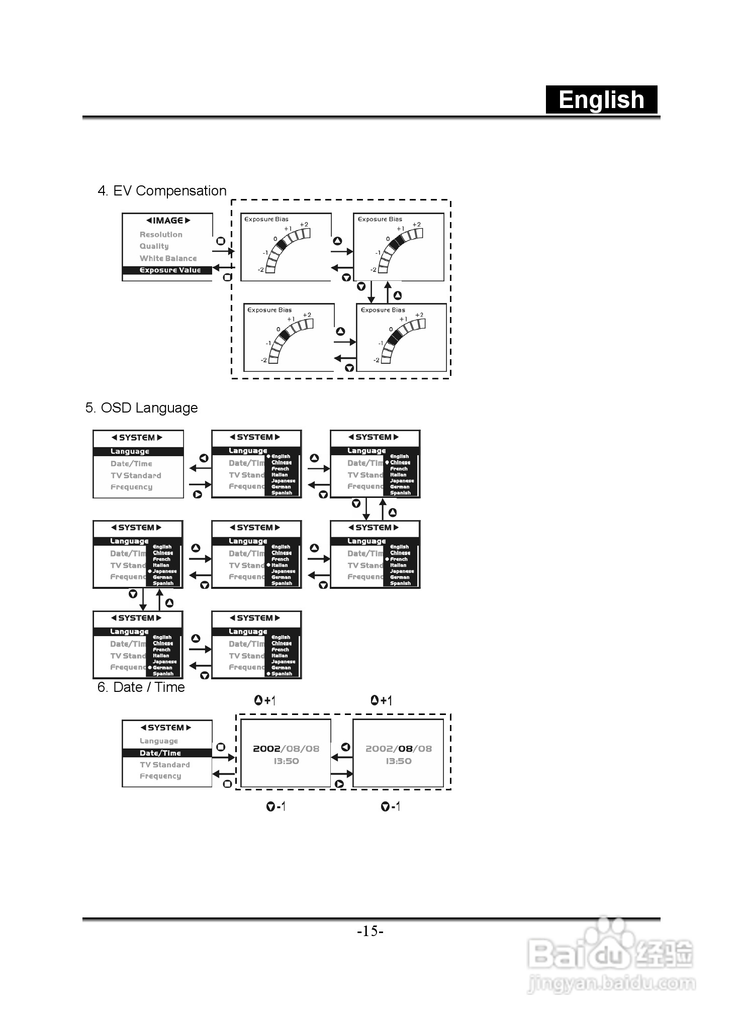
昆盈G-Shot D610型数码相机使用说明书:[2]
2026-04-22 01:58:28
本篇为《昆盈G-Shot D610型数码相机使用说明书》,主要介绍该产品的使用方法以及常见故障解决方案。
(共篇)
上一篇:
|
下一篇:
相关推荐
昆盈G-Shot D610型数码相机使用说明书:[1]
阅读量:100
昆盈G-Shot D211型数码相机使用说明书:[2]
阅读量:191
昆盈G-Shot A435型数码相机使用说明书:[2]
阅读量:194
数码相机fe-350wide使用说明
阅读量:177
数码相机如何设置拍得清晰不会模糊
阅读量:116
猜你喜欢
怎么做淘宝
悟空理财怎么样
怎么写自我介绍
烟台南山学院怎么样
血迹怎么洗干净
cvt无级变速怎么开
有红血丝怎么办
写信格式怎么写
怎么换苹果手机铃声
皮炎怎么治
猜你喜欢
dnf红字怎么转换
怎么重新安装系统
怎么注册网址
论文题目怎么写
心理压力大怎么办
怎么样算包皮过长
笔记本电脑键盘怎么拆
怎么做南瓜饼
眼屎多怎么回事
怎么锻炼腿部肌肉